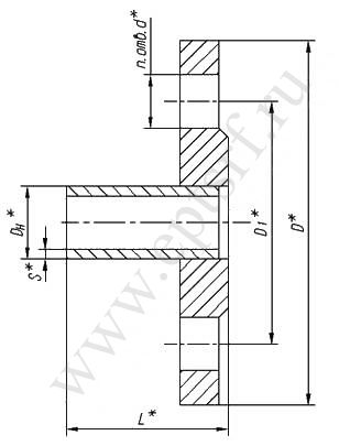
Фланец плоский ОСТ 34-10-425-90
1.1 Фланцы плоские приварные

| Условное давление Ру, МПа (кгс/см2) | Рабочее давление Рраб, МПа (кгс/см2) для температуры рабочей среды, °С | |
| 200 | 300 | |
| 0,25(25) | 0,25(2,5) | 0,22(2,2) |
| 0,63(6,3) | 0,6(6,0) | 0,54(5,4) |
| 1,0(10,0) | 1,0(10,0) | 0,90(9,0) |
| 1,6(16) | 1,6(16) | 1,4(14) |
| 2,5(25) | 2,2(22) | 2,2(22) |
| Обозначение | Dу | Размер присоед. трубы | D | D1 | Dн | S | L | d | n | Масса, кг | |
| по чертежу | по стандарту | ||||||||||
| Ру 0,25 МПа (2,5 кгс/см2) | |||||||||||
| БК-592426СБ | 01 ОСТ34-10-425-90 | 10 | 14х2 | 75 | 50 | 14 | 2 | 153 | 12 | 4 | 0,35 |
| -01 | 02 | 15 | 18х2,5 | 80 | 55 | 18 | 2,5 | 154 | 12 | 4 | 0,44 |
| -02 | 03 | 20 | 25х3 | 90 | 65 | 25 | 3 | 154 | 12 | 4 | 0,70 |
| -03 | 04 | 25 | 32х2,5 | 100 | 75 | 32 | 3,5 | 154 | 12 | 4 | 0,93 |
| -04 | 05 | 32 | 38х3 | 120 | 90 | 38 | 3,5 | 154 | 14 | 4 | 1,26 |
| -05 | 06 | 50 | 57х3 | 140 | 110 | 57 | 4 | 154 | 14 | 4 | 1,86 |
| -06 | 07 | 65 | 76х4,5 | 160 | 130 | 76 | 4,5 | 156 | 14 | 4 | 2,65 |
| -07 | 08 | 80 | 89х5 | 185 | 150 | 89 | 5 | 156 | 18 | 4 | 3,47 |
| -08 | 09 | 100 | 108х5 | 205 | 170 | 108 | 5 | 156 | 18 | 4 | 4,14 |
| -09 | 10 | 125 | 133х6 | 235 | 200 | 133 | 6 | 157 | 18 | 8 | 5,58 |
| -10 | 11 | 150 | 159х6 | 260 | 225 | 159 | 6,5 | 157 | 18 | 8 | 7,29 |
| -11 | 12 | 200 | 219х11 | 315 | 280 | 219 | 12 | 162 | 18 | 8 | 14,69 |
| -12 | 13 | 200 | 220х7 | 315 | 280 | 220 | 8 | 158 | 18 | 8 | 11,36 |
| -13 | 14 | 250 | 273х11 | 370 | 335 | 273 | 11 | 262 | 18 | 12 | 25,65 |
| -14 | 15 | 300 | 325х12 | 435 | 395 | 325 | 12 | 263 | 23 | 12 | 33,88 |
| -15 | 16 | 350 | 377х6 | 485 | 445 | 377 | 6 | 257 | 23 | 12 | 24,84 |
| -16 | 17 | 400 | 426х8 | 535 | 495 | 426 | 8 | 259 | 23 | 16 | 33,38 |
| -17 | 18 | 500 | 530х8 | 640 | 600 | 530 | 8 | 309 | 23 | 16 | 48,44 |
| -18 | 19 | 600 | 630х8 | 755 | 705 | 630 | 8 | 309 | 27 | 20 | 60,0 |
| -19 | 20 | 600 | 630х12 | 755 | 705 | 630 | 12 | 313 | 27 | 20 | 79,55 |
| -20 | 21 | 700 | 720х10 | 860 | 810 | 720 | 10 | 311 | 27 | 24 | 84,49 |
| -21 | 22 | 800 | 820х10 | 975 | 920 | 820 | 10 | 311 | 30 | 24 | 99,74 |
| -22 | 23 | 900 | 920х10 | 1075 | 1020 | 920 | 10 | 311 | 30 | 24 | 115,18 |
| -23 | 24 | 1000 | 1020х10 | 1175 | 1120 | 1020 | 10 | 311 | 30 | 28 | 131,43 |
| -24 | 25 | 1200 | 1220х10 | 1375 | 1320 | 1220 | 10 | 311 | 30 | 32 | 156,63 |
| Ру 0,6 МПа (6 кгс/см2) | |||||||||||
| -25 | 26 | 10 | 14х2 | 75 | 50 | 14 | 2 | 153 | 12 | 4 | 0,41 |
| -26 | 27 | 15 | 18х2,5 | 80 | 55 | 18 | 2,5 | 154 | 12 | 4 | 0,48 |
| -27 | 28 | 20 | 25х3 | 90 | 65 | 25 | 3 | 154 | 12 | 4 | 0,78 |
| -28 | 29 | 25 | 32х2,5 | 100 | 75 | 32 | 3,5 | 154 | 12 | 4 | 1,02 |
| -29 | 30 | 32 | 38х3 | 120 | 90 | 38 | 3,5 | 154 | 14 | 4 | 1,48 |
| -30 | 31 | 50 | 57х3 | 140 | 110 | 57 | 4 | 154 | 14 | 4 | 2,15 |
| -31 | 32 | 65 | 76х4,5 | 160 | 130 | 76 | 4,5 | 156 | 14 | 4 | 2,89 |
| -32 | 33 | 80 | 89х5 | 185 | 150 | 89 | 5 | 156 | 18 | 4 | 4,08 |
| -33 | 34 | 100 | 108х5 | 205 | 170 | 108 | 5 | 156 | 18 | 4 | 4,85 |
| -34 | 35 | 125 | 133х6 | 235 | 200 | 133 | 6 | 157 | 18 | 8 | 6,86 |
| -35 | 36 | 150 | 159х6 | 260 | 225 | 159 | 6,5 | 157 | 18 | 8 | 8,26 |
| -36 | 37 | 200 | 219х11 | 315 | 280 | 219 | 12 | 162 | 18 | 8 | 15,88 |
| -37 | 38 | 200 | 220х7 | 315 | 280 | 220 | 8 | 158 | 18 | 8 | 12,55 |
| -38 | 39 | 250 | 273х11 | 370 | 335 | 273 | 11 | 262 | 18 | 12 | 26,38 |
| -39 | 40 | 300 | 325х12 | 435 | 395 | 325 | 12 | 263 | 23 | 12 | 34,86 |
| -40 | 41 | 350 | 377х6 | 485 | 445 | 377 | 6 | 257 | 23 | 12 | 27,04 |
| -41 | 42 | 400 | 426х8 | 535 | 495 | 426 | 8 | 259 | 23 | 16 | 36,98 |
| -42 | 43 | 500 | 530х8 | 640 | 600 | 530 | 8 | 309 | 23 | 16 | 52,14 |
| -43 | 44 | 600 | 630х8 | 755 | 705 | 630 | 8 | 309 | 27 | 20 | 64,9 |
| -44 | 45 | 600 | 630х12 | 755 | 705 | 630 | 12 | 313 | 27 | 20 | 84,45 |
| -45 | 46 | 700 | 720х10 | 860 | 810 | 720 | 10 | 311 | 27 | 24 | 92,19 |
| -46 | 47 | 800 | 820х10 | 975 | 920 | 820 | 10 | 311 | 30 | 24 | 109,34 |
| -47 | 48 | 900 | 920х10 | 1075 | 1020 | 920 | 10 | 311 | 30 | 24 | 126,28 |
| -48 | 49 | 1000 | 1020х10 | 1175 | 1120 | 1020 | 10 | 311 | 30 | 28 | 143,33 |
| Ру 1,0 МПа (10 кгс/см2) | |||||||||||
| -49 | 50 | 10 | 14х2 | 90 | 60 | 14 | 2 | 153 | 14 | 4 | 0,56 |
| -50 | 51 | 15 | 18х2,5 | 95 | 65 | 18 | 2,5 | 154 | 14 | 4 | 0,66 |
| -51 | 52 | 20 | 25х3 | 105 | 75 | 25 | 3 | 154 | 14 | 4 | 0,99 |
| -52 | 53 | 25 | 32х2,5 | 115 | 85 | 32 | 3,5 | 154 | 14 | 4 | 1,28 |
| -53 | 54 | 32 | 38х3 | 135 | 100 | 38 | 3,5 | 154 | 18 | 4 | 1,87 |
| -54 | 55 | 50 | 57х3 | 160 | 125 | 57 | 4 | 154 | 18 | 4 | 2,89 |
| -55 | 56 | 65 | 76х4,5 | 180 | 145 | 76 | 4,5 | 156 | 18 | 4 | 4,07 |
| -56 | 57 | 80 | 89х5 | 195 | 160 | 89 | 5 | 156 | 18 | 4 | 4,84 |
| -57 | 58 | 100 | 108х5 | 215 | 180 | 108 | 5 | 156 | 18 | 8 | 5,97 |
| -58 | 59 | 125 | 133х6 | 245 | 210 | 133 | 6 | 157 | 18 | 8 | 8,41 |
| -59 | 60 | 150 | 159х6 | 280 | 240 | 159 | 6,5 | 157 | 23 | 8 | 10,51 |
| -60 | 61 | 200 | 219х11 | 335 | 295 | 219 | 12 | 162 | 23 | 8 | 18,06 |
| -61 | 62 | 200 | 220х7 | 335 | 295 | 220 | 8 | 158 | 23 | 8 | 14,73 |
| -62 | 63 | 250 | 273х11 | 390 | 350 | 273 | 11 | 262 | 23 | 12 | 29,33 |
| -63 | 64 | 300 | 325х12 | 440 | 400 | 325 | 12 | 263 | 23 | 12 | 37,46 |
| -64 | 65 | 350 | 377х6 | 500 | 460 | 377 | 6 | 257 | 23 | 16 | 30,24 |
| -65 | 66 | 400 | 426х8 | 565 | 515 | 426 | 8 | 259 | 27 | 16 | 43,38 |
| -66 | 67 | 500 | 530х8 | 670 | 620 | 530 | 8 | 309 | 27 | 20 | 60,24 |
| -67 | 68 | 600 | 630х8 | 780 | 725 | 630 | 8 | 309 | 30 | 20 | 78,2 |
| -68 | 69 | 600 | 630х12 | 780 | 725 | 630 | 12 | 313 | 30 | 20 | 97,75 |
| Ру 1,6 МПа (16 кгс/см2) | |||||||||||
| БК-592427СБ | 70 | 10 | 14х2 | 90 | 60 | 14 | 2 | 153 | 14 | 4 | 0,64 |
| -01 | 71 | 15 | 18х2,5 | 95 | 65 | 18 | 2,5 | 154 | 14 | 4 | 0,77 |
| -02 | 72 | 20 | 25х3 | 105 | 75 | 25 | 3 | 154 | 14 | 4 | 1,13 |
| -03 | 73 | 25 | 32х2,5 | 115 | 85 | 32 | 3,5 | 154 | 14 | 4 | 1,57 |
| -04 | 74 | 32 | 38х3 | 135 | 100 | 38 | 3,5 | 154 | 18 | 4 | 2,07 |
| -05 | 75 | 50 | 57х3 | 160 | 125 | 57 | 4 | 154 | 18 | 4 | 3,43 |
| -06 | 76 | 65 | 76х4,5 | 180 | 145 | 76 | 4,5 | 156 | 18 | 4 | 4,77 |
| -07 | 77 | 80 | 89х5 | 195 | 160 | 89 | 5 | 156 | 18 | 4 | 5,46 |
| -08 | 78 | 100 | 108х5 | 215 | 180 | 108 | 5 | 156 | 18 | 8 | 6,88 |
| -09 | 79 | 125 | 133х6 | 245 | 210 | 133 | 6 | 157 | 18 | 8 | 9,59 |
| -10 | 80 | 150 | 159х6 | 280 | 240 | 159 | 6,5 | 157 | 23 | 8 | 11,95 |
| -11 | 81 | 200 | 219х11 | 335 | 295 | 219 | 12 | 162 | 23 | 12 | 21,15 |
| -12 | 82 | 200 | 220х7 | 335 | 295 | 220 | 8 | 158 | 23 | 12 | 17,22 |
| -13 | 83 | 250 | 273х11 | 405 | 355 | 273 | 11 | 262 | 27 | 12 | 34,54 |
| -14 | 84 | 300 | 325х12 | 460 | 410 | 325 | 12 | 263 | 27 | 12 | 44,25 |
| -15 | 85 | 350 | 377х6 | 520 | 470 | 377 | 6 | 257 | 27 | 16 | 37,87 |
| -16 | 86 | 400 | 426х8 | 580 | 525 | 426 | 8 | 259 | 30 | 16 | 53,97 |
| -17 | 87 | 500 | 530х8 | 710 | 650 | 530 | 8 | 309 | 33 | 20 | 91,21 |
| -18 | 88 | 600 | 630х8 | 840 | 770 | 630 | 8 | 309 | 40 | 20 | 121,12 |
| -19 | 89 | 600 | 630х12 | 840 | 770 | 630 | 12 | 313 | 40 | 20 | 142,46 |
| Ру 2,5 МПа (25 кгс/см2) | |||||||||||
| -20 | 90 | 10 | 14х2 | 90 | 60 | 14 | 2 | 153 | 14 | 4 | 0,74 |
| -21 | 91 | 15 | 18х2,5 | 95 | 65 | 18 | 2,5 | 154 | 14 | 4 | 0,86 |
| -22 | 92 | 20 | 25х3 | 105 | 75 | 25 | 3 | 154 | 14 | 4 | 1,25 |
| -23 | 93 | 25 | 32х2,5 | 115 | 85 | 32 | 3,5 | 154 | 14 | 4 | 1,57 |
| -24 | 94 | 32 | 38х3 | 135 | 100 | 38 | 3,5 | 154 | 18 | 4 | 2,26 |
| -25 | 95 | 50 | 57х3 | 160 | 125 | 57 | 4 | 154 | 18 | 4 | 3,56 |
| -26 | 96 | 65 | 76х4,5 | 180 | 145 | 76 | 4,5 | 156 | 18 | 8 | 4,56 |
| -27 | 97 | 80 | 89х5 | 195 | 160 | 89 | 5 | 156 | 18 | 8 | 5,81 |
| -28 | 98 | 100 | 108х5 | 230 | 190 | 108 | 5 | 156 | 23 | 8 | 8,08 |
| -29 | 99 | 125 | 133х6 | 270 | 220 | 133 | 6 | 157 | 27 | 8 | 11,49 |
| -30 | 100 | 150 | 159х6 | 300 | 250 | 159 | 6,5 | 157 | 27 | 8 | 14,26 |
| -31 | 101 | 200 | 219х11 | 360 | 310 | 219 | 12 | 162 | 27 | 12 | 24,45 |
| -32 | 102 | 200 | 220х7 | 360 | 310 | 220 | 8 | 158 | 27 | 12 | 20,52 |
| -33 | 103 | 250 | 273х11 | 425 | 370 | 273 | 11 | 262 | 30 | 12 | 39,04 |
| -34 | 104 | 300 | 325х12 | 485 | 430 | 325 | 12 | 263 | 30 | 16 | 50,45 |
| -35 | 105 | 350 | 377х6 | 550 | 490 | 377 | 6 | 257 | 33 | 16 | 49,47 |
| -36 | 106 | 400 | 426х8 | 610 | 550 | 426 | 8 | 259 | 33 | 16 | 67,77 |
| -37 | 107 | 500 | 530х8 | 730 | 660 | 530 | 8 | 309 | 40 | 20 | 101,61 |
1.2 Фланцы плоские приварные с ребрами

| Условное давление Ру, МПа (кгс/см2) | Рабочее давление Рраб, МПа (кгс/см2) для температуры рабочей среды, °С | |
| 200 | 300 | |
| 1,6(16) | 1,6(16) | 1,4(14) |
| 2,5(25) | 2,2(22) | 2,2(22) |
| Обозначение | Dу | Размер присоед. трубы | D | D1 | Dн | S | L | d | n | Масса, кг | |
| по чертежу | по стандарту | ||||||||||
| Ру 1,6 МПа (16 кгс/см2) | |||||||||||
| БК-592427СБ | 70 ОСТ34-10-425-90 | 10 | 14х2 | 90 | 60 | 14 | 2 | 153 | 14 | 4 | 0,64 |
| -01 | 71 | 15 | 18х2,5 | 95 | 65 | 18 | 2,5 | 154 | 14 | 4 | 0,77 |
| -02 | 72 | 20 | 25х3 | 105 | 75 | 25 | 3 | 154 | 14 | 4 | 1,13 |
| -03 | 73 | 25 | 32х2,5 | 115 | 85 | 32 | 3,5 | 154 | 14 | 4 | 1,57 |
| -04 | 74 | 32 | 38х3 | 135 | 100 | 38 | 3,5 | 154 | 18 | 4 | 2,07 |
| -05 | 75 | 50 | 57х3 | 160 | 125 | 57 | 4 | 154 | 18 | 4 | 3,43 |
| -06 | 76 | 65 | 76х4,5 | 180 | 145 | 76 | 4,5 | 156 | 18 | 4 | 4,77 |
| -07 | 77 | 80 | 89х5 | 195 | 160 | 89 | 5 | 156 | 18 | 4 | 5,46 |
| -08 | 78 | 100 | 108х5 | 215 | 180 | 108 | 5 | 156 | 18 | 8 | 6,88 |
| -09 | 79 | 125 | 133х6 | 245 | 210 | 133 | 6 | 157 | 18 | 8 | 9,59 |
| -10 | 80 | 150 | 159х6 | 280 | 240 | 159 | 6,5 | 157 | 23 | 8 | 11,95 |
| -11 | 81 | 200 | 219х11 | 335 | 295 | 219 | 12 | 162 | 23 | 12 | 21,15 |
| -12 | 82 | 200 | 220х7 | 335 | 295 | 220 | 8 | 158 | 23 | 12 | 17,22 |
| -13 | 83 | 250 | 273х11 | 405 | 355 | 273 | 11 | 262 | 27 | 12 | 34,54 |
| -14 | 84 | 300 | 325х12 | 460 | 410 | 325 | 12 | 263 | 27 | 12 | 44,25 |
| -15 | 85 | 350 | 377х6 | 520 | 470 | 377 | 6 | 257 | 27 | 16 | 37,87 |
| -16 | 86 | 400 | 426х8 | 580 | 525 | 426 | 8 | 259 | 30 | 16 | 53,97 |
| -17 | 87 | 500 | 530х8 | 710 | 650 | 530 | 8 | 309 | 33 | 20 | 91,21 |
| -18 | 88 | 600 | 630х8 | 840 | 770 | 630 | 8 | 309 | 40 | 20 | 121,12 |
| -19 | 89 | 600 | 630х12 | 840 | 770 | 630 | 12 | 313 | 40 | 20 | 142,46 |
| Ру 2,5 МПа (25 кгс/см2) | |||||||||||
| -20 | 90 | 10 | 14х2 | 90 | 60 | 14 | 2 | 153 | 14 | 4 | 0,74 |
| -21 | 91 | 15 | 18х2,5 | 95 | 65 | 18 | 2,5 | 154 | 14 | 4 | 0,86 |
| -22 | 92 | 20 | 25х3 | 105 | 75 | 25 | 3 | 154 | 14 | 4 | 1,25 |
| -23 | 93 | 25 | 32х2,5 | 115 | 85 | 32 | 3,5 | 154 | 14 | 4 | 1,57 |
| -24 | 94 | 32 | 38х3 | 135 | 100 | 38 | 3,5 | 154 | 18 | 4 | 2,26 |
| -25 | 95 | 50 | 57х3 | 160 | 125 | 57 | 4 | 154 | 18 | 4 | 3,56 |
| -26 | 96 | 65 | 76х4,5 | 180 | 145 | 76 | 4,5 | 156 | 18 | 8 | 4,56 |
| -27 | 97 | 80 | 89х5 | 195 | 160 | 89 | 5 | 156 | 18 | 8 | 5,81 |
| -28 | 98 | 100 | 108х5 | 230 | 190 | 108 | 5 | 156 | 23 | 8 | 8,08 |
| -29 | 99 | 125 | 133х6 | 270 | 220 | 133 | 6 | 157 | 27 | 8 | 11,49 |
| -30 | 100 | 150 | 159х6 | 300 | 250 | 159 | 6,5 | 157 | 27 | 8 | 14,26 |
| -31 | 101 | 200 | 219х11 | 360 | 310 | 219 | 12 | 162 | 27 | 12 | 24,45 |
| -32 | 102 | 200 | 220х7 | 360 | 310 | 220 | 8 | 158 | 27 | 12 | 20,52 |
| -33 | 103 | 250 | 273х11 | 425 | 370 | 273 | 11 | 262 | 30 | 12 | 39,04 |
| -34 | 104 | 300 | 325х12 | 485 | 430 | 325 | 12 | 263 | 30 | 16 | 50,45 |
| -35 | 105 | 350 | 377х6 | 550 | 490 | 377 | 6 | 257 | 33 | 16 | 49,47 |
| -36 | 106 | 400 | 426х8 | 610 | 550 | 426 | 8 | 259 | 33 | 16 | 67,77 |
| -37 | 107 | 500 | 530х8 | 730 | 660 | 530 | 8 | 309 | 40 | 20 | 101,61 |